Product Summary
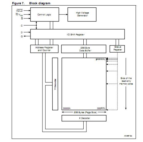
The M25P32-VMF6TP is a 32 Mbit (4M x 8) Serial Flash memory, with advanced write protection mechanisms, accessed by a high speed SPI-compatible bus. The M25P32-VMF6TP can be programmed 1 to 256 bytes at a time, using the Page Program instruction. The M25P32-VMF6TP is organized as 64 sectors, each containing 256 pages. Each page is 256 bytes wide. Thus, the whole memory can be viewed as consisting of 16384 pages, or 4,194,304 bytes. The whole memory can be erased using the Bulk Erase instruction, or a sector at a time, using the Sector Erase instruction.
Parametrics
M25P32-VMF6TP absolute maximum ratings: (1)Storage temperature:–65℃ to 150℃; (2)Input and output voltage (with respect to Ground):–0.6V to VCC+0.6V; (3)Supply voltage:–0.6V to 4.0V; (4)Fast Program/Erase voltage:–0.2V to 10.0V; (5)Electrostatic Discharge Voltage (Human Body model):–2000V to 2000V.
Features
M25P32-VMF6TP features: (1)32 Mbit of Flash memory; (2)2.7 V to 3.6 V single supply voltage; (3)SPI bus compatible serial interface; (4)75 MHz clock rate (maximum); (5)VPP = 9 V for Fast Program/Erase mode (optional); (6)Page Program (up to 256 bytes):in 0.64 ms (typical); (7)Sector Erase (512 Kbit) in 0.6 s (typical); (8)Bulk Erase::in 23 s (typical),in 17 s (typical with VPP = 9 V); (9)Deep Power-down mode 1 μA (typical); (10)Electronic Signatures:JEDEC standard two-byte signature (2016h),Unique ID code (UID) +16 bytes of CFI data, RES instruction, one-byte, signature (15h), for backward compatibility; (11)Hardware Write Protection of the memory area selected using the BP0, BP1 and BP2 bits; (12)More than 100 000 Erase/Program cycles per sector; (13)More than 20 year data retention; (14)Packages:ECOPACK (RoHS compliant).
Diagrams

| Image | Part No | Mfg | Description | ![]() |
Pricing (USD) |
Quantity | ||||||||||||
|---|---|---|---|---|---|---|---|---|---|---|---|---|---|---|---|---|---|---|
![]() |
![]() M25P32-VMF6TP |
![]() STMicroelectronics |
![]() Flash SERIAL FLASH |
![]() Data Sheet |
![]() Negotiable |
|
||||||||||||
| Image | Part No | Mfg | Description | ![]() |
Pricing (USD) |
Quantity | ||||||||||||
![]() |
![]() M25P01K9FC |
![]() JAE Electronics |
![]() Automotive Connectors Pin Contact MX25 |
![]() Data Sheet |
![]()
|
|
||||||||||||
![]() |
![]() M25P05 |
![]() Other |
![]() |
![]() Data Sheet |
![]() Negotiable |
|
||||||||||||
![]() |
![]() M25P05-A |
![]() Other |
![]() |
![]() Data Sheet |
![]() Negotiable |
|
||||||||||||
![]() |
![]() M25P05-AVDW6TP |
![]() STMicroelectronics |
![]() Flash 512 KB Lo Vltg Serial Flash memory |
![]() Data Sheet |
![]() Negotiable |
|
||||||||||||
![]() |
![]() M25P05-AVMB6TP |
![]() |
![]() IC SRL FLASH 512KBIT 3V 8UFDFPN |
![]() Data Sheet |
![]() Negotiable |
|
||||||||||||
![]() |
![]() M25P05-AVMN6 |
![]() STMicroelectronics |
![]() Flash 3.0V 512K (64Kx8) |
![]() Data Sheet |
![]() Negotiable |
|
||||||||||||
(Hong Kong)










